Netflix

Xbox Netflix Party Mode

How To Use Netflix Party To Stream Movies With Your Friends The Verge
www.theverge.com

What To Be Thankful For About Last Gen Hardcore Gamer
hardcoregamer.com

How To Play Games Apps Simultaneously In Multi Window Mode On The Xbox One With Snap Xbox One Wonderhowto
xbox-one.wonderhowto.com

How To Use Netflix Party Watch Netflix With Friends Online What Hi Fi
www.whathifi.com

Contents Contributed And Discussions Participated By Kayla Crabtree Skogussourhost Diigo Groups
groups.diigo.com

How To Watch Netflix On Tv Cnet
www.cnet.com

Netflix Hacks For 2020 Best Tricks Tips Settings Add Ons Thrillist
www.thrillist.com

Ever Since They Removed Party Mode From Netflix On The Xbox I Ve Been Looking For A Fix I Think I Found It Gaming
www.reddit.com

How To Stream Pc Games And Movies To Your Xbox One With A Free App The Verge
www.theverge.com

Https Encrypted Tbn0 Gstatic Com Images Q Tbn 3aand9gcta0 Ztdkzefapehja A3nhvjqwkx1jhknrqq Usqp Cau

How To Use Netflix Party Full Guide Youtube
www.youtube.com

Netflix Party Not Working How To Fix Netflix Party Google Chrome Extention Daily Star
www.dailystar.co.uk

Still Haven T Tried Netflix Party With Your Friends Here S How To Watch Movies Together For Free Cnet
www.cnet.com

How To Revert To The Old Netflix App On The New Xbox 360 Update Tech Pr0n Gadget Hacks
tech-pr0n.gadgethacks.com

Https Encrypted Tbn0 Gstatic Com Images Q Tbn 3aand9gct Rpubnmjhu9pojnutbqx9nzcmlcssxl9nla Usqp Cau

Soapbox The Return Of Netflix Party Mode Is What We All Need Right Now Xbox News
www.purexbox.com

Con Netflix Party Puedes Ver Peliculas Y Series A Larga Distancia Con Tus Seres Queridos Qore
www.qore.com

Wouldn T You Guys Like To Have Netflix Party Mode Back On Xbox I Know I Would Xboxone
www.reddit.com

Netflix Party Support
www.netflixparty.com

How To Netflix Together While Apart Techradar
global.techradar.com

Netflix Party Mode Bring It Back Posts Facebook
www.facebook.com

Hulu Brings 4k Content To The Xbox One Engadget
www.engadget.com

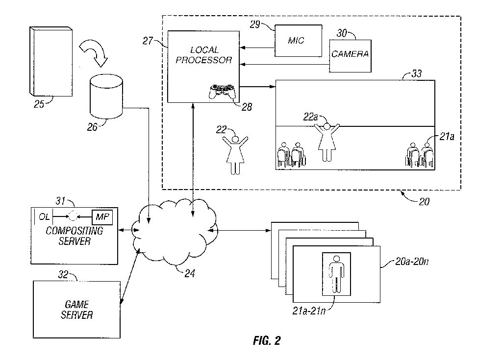
Sony Patents Party Mode For Video Bifuteki
www.bifuteki.com

Coronavirus Netflix Party Lets Friends Do Movie Nights In Quarantine
www.usatoday.com

How To Revert To The Old Netflix App On The New Xbox 360 Update Tech Pr0n Gadget Hacks
tech-pr0n.gadgethacks.com

Hey Microsoft It S Time To Bring Netflix Party Back To Xbox One
comicbook.com

Netflix Party Mode Bring It Back Home Facebook
www.facebook.com

How To Revert To The Old Netflix App On The New Xbox 360 Update Tech Pr0n Gadget Hacks
tech-pr0n.gadgethacks.com

Netflix Party
chrome.google.com

Cnjgv3idciy3sm

The Xbox Dashboard A Visual History The Verge
www.theverge.com

Netflix Party
www.netflixparty.com

How To Use Netflix Party To Watch Movies With Friends Amidst Social Distancing Android Central
www.androidcentral.com

How To Appear Offline On Xbox One Digital Trends
www.digitaltrends.com

How To Revert To The Old Netflix App On The New Xbox 360 Update Tech Pr0n Gadget Hacks
tech-pr0n.gadgethacks.com

How To Use Netflix Party How To Remotely Share Netflix Movies Tech Advisor
www.techadvisor.co.uk

You Can Now Sync Netflix Movies With Friends Thanks To A Chrome Add On Techradar
www.techradar.com

How To Use Netflix Party Stream Your Favorite Shows With Friends Tom S Guide
www.tomsguide.com

Hacking Netflix Netflix Streaming On The Xbox 360 Vs Ps3
www.hackingnetflix.com

How To Play Games Apps Simultaneously In Multi Window Mode On The Xbox One With Snap Xbox One Wonderhowto
xbox-one.wonderhowto.com

The Top 11 Things You Want For The Xbox One Pcworld
www.pcworld.com

How To Revert To The Old Netflix App On The New Xbox 360 Update Tech Pr0n Gadget Hacks
tech-pr0n.gadgethacks.com

Amazon Com Xbox
www.amazon.com

Netflix No Longer Supports Apple Airplay 2 What You Need To Know Business Insider
www.businessinsider.com

Netflix Party Lets You Watch Shows With Friends While Social Distancing
knowtechie.com

Facebook Introduces Watch Party To Let You Watch Shows Together With Friends The Verge
www.theverge.com

Hey Microsoft It S Time To Bring Netflix Party Back To Xbox One
comicbook.com

How To Use Netflix Party To Stream Movies With Your Friends The Verge
www.theverge.com

Rave App Is Like Netflix Party For Mobile How To Use It Tom S Guide
www.tomsguide.com

Xbox One System Software Wikipedia
en.wikipedia.org

Netflix Party Lets Long Distance Friends Watch Together Techcrunch
techcrunch.com

Hey Microsoft It S Time To Bring Netflix Party Back To Xbox One
comicbook.com

Xbox One Was Released This Morning Ps4 Netflix Party Mode Bring It Back Facebook
www.facebook.com

How To Use Netflix Party Watch Netflix With Friends Online What Hi Fi
www.whathifi.com

How To Watch Netflix With Friends Far Away 7 Methods That Work
www.makeuseof.com

List Of Xbox One Apps That Support 4k Video In 2020 Windows Central
www.windowscentral.com

Can You Get Netflix Party On Iphone And Android Gamerevolution
www.gamerevolution.com

Minecraft Story Mode Is Coming To Netflix But Not As A Game Usgamer
www.usgamer.net

How To Watch Netflix Together With Your Friends Using Netflix Party Windows Central
www.windowscentral.com

How To Use Netflix Party To Watch Movies With Friends Amidst Social Distancing Android Central
www.androidcentral.com

Wouldn T You Guys Like To Have Netflix Party Mode Back On Xbox I Know I Would Gamingmeme
gamingmeme.com

Petition Bring Back Watch Netflix With Party On Xbox Change Org
www.change.org

Can You Get Netflix Party On Iphone And Android Gamerevolution
www.gamerevolution.com

Https Encrypted Tbn0 Gstatic Com Images Q Tbn 3aand9gcrfl Psy5eaicku C2epafduhgrgsq8vqysev8yehlrllqnqchf Usqp Cau
encrypted-tbn0.gstatic.com

Https Encrypted Tbn0 Gstatic Com Images Q Tbn 3aand9gctmbb57 5pdi8cfa3gg4pvprm Guu2wxwhby1d1v3tbhmywck9m Usqp Cau
encrypted-tbn0.gstatic.com

New Netflix On Xbox Live Youtube
www.youtube.com

How To Use Netflix Party To Watch Tv And Movies Together Online Techradar
www.techradar.com

Https Encrypted Tbn0 Gstatic Com Images Q Tbn 3aand9gct9qwneazvsdll1vxr9x0nusllyv0hqrx7ycgknwmqkj Krdwku Usqp Cau
encrypted-tbn0.gstatic.com

Soapbox The Return Of Netflix Party Mode Is What We All Need Right Now Xbox News
www.purexbox.com

Netflix Party This App Lets You Watch Movies And Tv Shows With Friends Remotely Gamespot
www.gamespot.com

Old Netflix Party Viewer Xbox360 Update Preview 2009 Youtube
www.youtube.com

Netflix Hacks For 2020 Best Tricks Tips Settings Add Ons Thrillist
www.thrillist.com

Netflix Party
chrome.google.com

How To Host Virtual Netflix Amazon Hulu Disney And Youtube Watch Parties Techhive
www.techhive.com

How To Use Netflix Party Chrome Extension Reviews Org Au
www.reviews.org

How To Revert To The Old Netflix App On The New Xbox 360 Update Tech Pr0n Gadget Hacks
tech-pr0n.gadgethacks.com

Please Bring Back Netflix Party With Friends On Xbox Microsoft Community
answers.microsoft.com

Can You Get Netflix Party On Iphone And Android Gamerevolution
www.gamerevolution.com

Netflix Party Play In Action
kotaku.com

Xbox 360 Netflix Loses Party Mode Cinemablend
www.cinemablend.com

7 Best Ways To Watch Movies Together Online Netflix Party Hulu Watch And More Polygon
www.polygon.com

Here S How You Can Watch Movies With Friends During The Covid 19 Lockdown
sea.ign.com

7 Best Ways To Watch Movies Together Online Netflix Party Hulu Watch And More Polygon
www.polygon.com

Why Netflix Scrapped Party Mode Feature On Xbox 360 Game Consoles
www.technicalbulls.com

Netflix Party Watch With Friends Microsoft Community
answers.microsoft.com

Wouldn T You Guys Like To Have Netflix Party Mode Back On Xbox I Know I Would Gamingmeme
gamingmeme.com

Say Goodbye To Netflix S Party Mode On The Xbox 360
kotaku.com

Netflix Party Extension Lets Distant Friends Watch Together Iphone In Canada Blog
www.iphoneincanada.ca

Sony Patents Party Mode For Video Bifuteki
www.bifuteki.com

Sony Patents Party Mode For Video Bifuteki
www.bifuteki.com

You Can Watch Netflix Remotely With Friends And Family Using Netflix Party
www.cheatsheet.com

How To Use Netflix Party Watch Netflix With Friends Online What Hi Fi
www.whathifi.com

Netflix Party This App Lets You Watch Movies And Tv Shows With Friends Remotely Gamespot
www.gamespot.com

Xbox 360 Netflix Party Youtube
www.youtube.com

How To Revert To The Old Netflix App On The New Xbox 360 Update Tech Pr0n Gadget Hacks
tech-pr0n.gadgethacks.com

Wouldn T You Guys Like To Have Netflix Party Mode Back On Xbox I Know I Would Gamingmeme
gamingmeme.com

7 Best Ways To Watch Movies Together Online Netflix Party Hulu Watch And More Polygon
www.polygon.com

How To Watch Netflix Together With Your Friends Using Netflix Party Windows Central
www.windowscentral.com

1
encrypted-tbn0.gstatic.com

Netflix Party Support
www.netflixparty.com

How To Use Netflix Party Watch Netflix With Friends Online What Hi Fi
www.whathifi.com

How To Revert To The Old Netflix App On The New Xbox 360 Update Tech Pr0n Gadget Hacks
tech-pr0n.gadgethacks.com

Two Methods To Watch Netflix Videos On Xbox One
www.kigo-video-converter.com

Netflix Party
chrome.google.com

close